10gbiz是一家专门经营国外机房的主机商,我们曾屡次对其进行过测评。这里我们主要测评下10gbiz的越南服务器,有需要的朋友可以关注下。

10gbiz的越南服务器机房位于胡志明市,支持Linux和Windows操作系统,提供20Mbps带宽,具有无穷流量。下面我们就简单测评下这款越南服务器。
下面我们先来看看10gbiz这款的越南服务器的Ping延迟,以下所示:

可以看到我本地延迟在110ms左右,网络或者比较稳定的,基本没有丢包的情况。
接下来我们再看看三网Ping的延迟效果,以下所示:

可以看到三网平均延迟是105ms左右,其中电信线路延迟最低,在91ms左右,其次是联通网络延迟在104ms左右,最后是移动网络延迟在153ms左右。整体来看电信和联通网络延迟还行,移动网络相对较差。
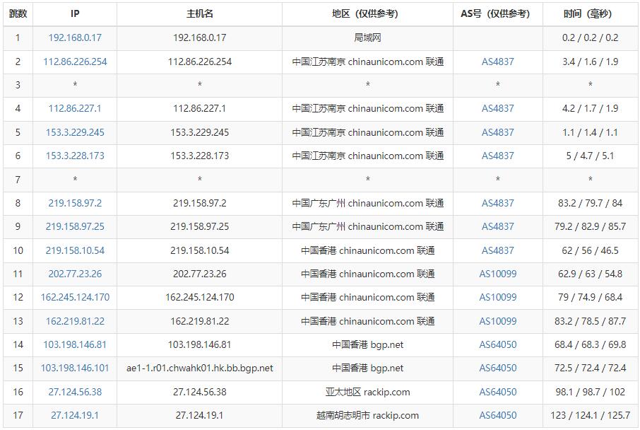
接下来我们再看看三网的路由线路。
电信去程路由:

电信网络经过香港节点后直连越南机房。
联通去程路由:

联通网络和电信网络是一样的,经过香港节点,然后转向越南机房。
移动去程路由:

移动网络路由则就比较离谱了,绕道韩国、日本机房后,经过香港节点,然后再转向越南机房。
这款越南服务器只有一个套餐,配置是Xeon E5⑵650 V2 *2 CPU 、64GB内存、1TB HDD存储、20Mbps带宽、无穷流量、3个IP,价格是616.8美元/月。
需要租赁的朋友通过10gbiz官网链接进入官网后,选择“专用服务器”菜单下的“越南专用服务器”便可,以下所示:

后面根据需要选择需要的配置就能够了。
以上就是10gbiz的越南服务器相关测评介绍,整体来讲电信和联通网络或者不错的,移动网络线路就比较绕了。有需要越南服务器的用户可以参考选择。
TikTok千粉号购买平台:https://tiktokusername.com/
                TOP